发布时间:2024-11-18
特价活动:>>>> 用友U8、T6、T+、T3软件产品4折优惠,畅捷通T+cloud、好会计、好业财、好生意云产品8折优惠,另有话费赠送。
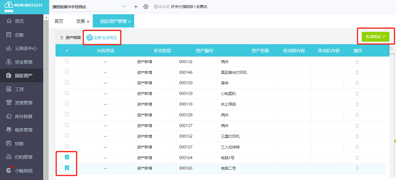
新增固定资产如何合并生成凭证
	
基础设置-凭证配置-固定资产,按变动类型合并生成凭证勾选上,保存,再去固定资产模块生成凭证。
  
 
	
固定资产-固定资产管理-变更生成凭证,新增当月的固定资产全选,点击生成凭证;只有新增购买日期是当月的固定资产才可以在这个界面生成凭证,购买日期是录入月份之前的固定资产只能手工做凭证。
  
 
	
  
 
	
	
 
    截屏,微信识别二维码
客服QQ:5151867
(点击QQ号复制,添加好友)